慧安小课堂 | 灵境
在之前的文章中,我们已经介绍过了人工智能的基本概念和算法开发的大致流程。当今,我们通常使用深度学习来开发人工智能算法和应用。
深度学习(DL)是目前最为流行的一种AI技术,深度学习的灵感来自大脑的结构和功能,即许多神经元的互连。它是一种基于神经网络的机器学习(ML)方法,通过多层神经网络对数据进行学习和处理,从而实现对数据的分类、识别和预测等任务。
深度学习按照应用,可以分为三大类算法:
1.卷积神经网络(简称CNN)
CNN可应用在图像分类(image classification)、目标检测(object detection)及语义分割(semantic segmentation)等。
2.循环神经网络(简称RNN)
不同于CNN,RNN网络本身具有记忆能力,可学习具有前后相关的数据类型,可用与进行语言翻译或文本翻译等。
3.生成对抗网络(简称GAN)
GAN是强化学习的一种,主要是通过两个神经网络相互博弈的方式进行学习,常用于图像重构、游戏开发、虚拟图像生成、以及智能聊天算法开发。

灵境-慧安蜂巢算法中台
深度学习对硬件环境的依赖很高,对于开发者有较高的门槛,深度学习计算框架的出现,屏蔽了大量硬件环境层面的开发代价,使研究者和开发人员可以专注于算法的实现,快速迭代。目前,深度学习框架有很多种,比如Pytorch、TensorFlow、Caffe、PaddlePaddle、Maxnet等。
尽管深度学习框架极大了提升了AI算法开发效率,但是对于一些初学者和中小企业来说学习成本高,AI算法开发依然有一定的难度,需要进行大量的工作,耗费大量的人力成本。如下图所示,开发一套AI算法需要下面的流程。

为了解决这一问题,慧安股份打造了灵境慧安蜂巢算法中台,全面支持数据集管理、算法开发、模型训练、在线部署等算法全生命周期工作。
数据集管理
创建数据集:根据需求上传自己的数据集,支持图像、视频、文本、音频等类型的数据集。

标注数据集:可以手动标注,也可以使用预置的目标检测、图像分类、图像分割等算法自动对数据集进行自动标注。

算法开发与管理
用户可以使用在线交互式笔记本自主开发深度学习算法,也可以使用灵境预置的算法进行训练。


模型训练与管理
完成数据集标注与算法开发后,可以使用算法创建训练任务。灵境支持使用PyTorch、TensorFlow等多种框架训练,同时支持多CPU与GPU并行训练。

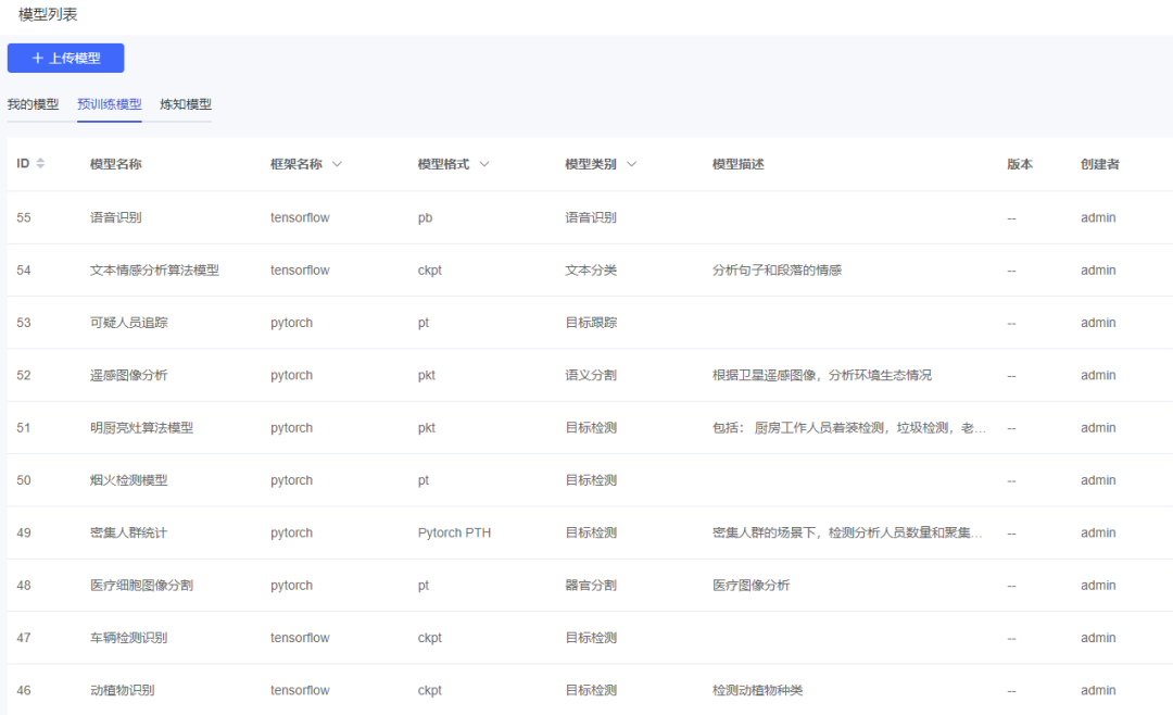
训练完成后,算法模型会保存在模型列表中。灵境也预置了多种场景下的常用模型,包括安全帽安全服检测识别、明厨亮灶相关算法、垃圾检测分类、抽烟检测、手机使用检测、快递号识别、人脸识别、车辆检测、烟火检测、人员非法聚集检测、文本分类、语音识别等模型。
这些预训练模型可以开箱即用,用户能够直接使用预训练模型进行业务部署。也可以基于预训练模型+自有数据集进行进一步训练,获得更加精准、符合用户场景的模型。

模型部署-在线服务
灵境支持将算法和模型部署为在线服务,可以将自己的算法和模型在线部署到灵境慧安蜂巢算法中台,可以提供模型在线推理预测。

总结
整体来说,我们的灵境慧安蜂巢算法中台有两大特色功能。
1.零门槛AI开发和使用
(1)灵境慧安蜂巢算法中台预置多种场景和行业需要的AI算法模型,包含通用目标检测,图像分类等,也包含行业专用的如安全帽、安全服检测,加油站烟火检测等。用户可以直接选择需求模型,做推理和部署,解决自己业务问题。
(2)对于一些平台上没有的专业模型,用户也能轻松开发。灵境慧安蜂巢算法中台提供了自动比标注和自动机器学习服务,用户只需要输入需要训练的数据,灵境平台即可帮助完成整个算法开发过程,极大提升AI算法开发效率,节省成本。
2.为AI工程师提高开发效率
(1)灵境慧安蜂巢算法中台提供强大的GPU算力,内置多种深度学习开发环境,用户可灵活选择需要的环境,节省环境配置时间。
(2)在线标注:提供多人协作标注和自动标注功能。
(3)灵境还提供了在线算法开发工具Jupyter Notebook,供用户在线协同开发使用。
(4)提供多种公共数据集和预训练模型,用户可以用极少的数据,训练出适合自己的专业AI算法模型。
灵境慧安蜂巢算法中台为人工智能的开发提供更强有力的支撑,提供AI算法开发从数据标注到模型部署的一站式全流程服务。
来源 | 研发中心/技术创新与规划科技部
审核 | 市场部




